(304) 744-7871
Facebook Page Twitter Feed Youtube Channel RSS Feed
Made in the USA

Model B Flange Sight Glass

Assembly Instruction Video

Click to play video >

Assembly Instructions

Model B Flange Sight Glass Assembly

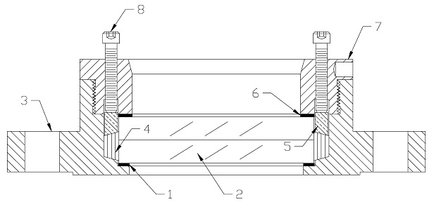
Model B Flange Sight Glass AssemblyThis unit was factory assembled and is ready for installation. The sight glass should be visually checked for any possible damage during shipping. If leakage occurs, follow step (8) until leakage has stopped.

Installing Parts

  1. The interior of the unit body (3) must be clean.
     
  2. Place the bottom cushion gasket (larger interior diameter) (1) into the flange (3).
     
  3. Carefully place lens (2) on top bottom cushion gasket (1).
     
  4. Install all but one piece of the lens packing (4) between the lens (2) and the interior wall of the flange (3).
     
  5. Place the compression ring (5) beveled-side down on top of the packing (4).
     
  6. Place the top cushion gasket (smaller I.D.) (6) on top of the lens (2) and inside the compression ring (5).
     
  7. Thread the retainer cap (7) into position until it makes contact with the flange. Due to non-compression of the packing (4), the cap (7) may ride on the compression ring (5) and may not make contact with the flange (3). If this should occur, proceed to step (8).
     
  8. Insert the compression adjustment screws (8) and tighten incrementally across diameters 8-10 ft-lb.
     
  9. Loosen compression adjustment screws (8), remove the cap (7), top cushion gasket (6) and compression ring (5).
  10. Insert the remaining piece of lens packing (4) between the lens (2) and the interior wall of the flange (3).
  11. Repeat steps 5-8.
  12. Occasionally, when pressure is applied, the packing (4) will loosen. Should leakage occur, follow the tightening procedure, outlined in step (10), until leakage has stopped.
NOTE: Lens may be reused if there is no damage (chips, etc), but PPC recommends that the lens packing should be replaced every time the unit is disassembled.

Sight Glass Resources:
Resource Index >
Sight Glass FAQ >
Types of Sight Glasses >
Tech Talks Videos >
Articles and White Papers >

Home Page >

Copyright 2015, All Rights Reserved.
Privacy Policy