(304) 744-7871
Facebook Page Twitter Feed Youtube Channel RSS Feed
Made in the USA

Model I Flange Sight Glass

Assembly Instruction Video

Click to play video >

Assembly Instructions

Model I Flange Sight Glass Assembly

Model I FLange Sight Glass AssemblyThis unit was assembled at the factory and is ready for installation (please proceed to step 11). The sight glass should be visually checked for any possible damage during shipping. If leakage occurs, follow step 12 until leakage is stopped.

Installing Parts

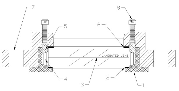
  1. Place the insert cup (1) on a clean, flat surface serrated face down.
     
  2. Place the bottom cushion gasket (2) (larger interior diameter) into the insert cup (1).
     
  3. Carefully place the lens (3) on the top bottom cushion gasket (2).
     
  4. Insert the lens packing (4) between the lens (3) and the interior wall of the insert cup (1).
     
  5. Place the flange (7), hub down, on a clean flat surface.
     
  6. Insert the compression ring (5), beveled side up, into the compression ring groove in the flange (7).
     
  7. Place the top cushion gasket (6) (smaller I.D.) on the lens bearing surface of the flange (7) inside of the compression ring (5).
     
  8. Slip the assembled insert cup into the flange, serrated face up.
     
  9. Thread two #10-32 socket head cap screws (not shown) into the flange housing to hold the insert cup assembly in place. NOTE: Disregard step 9 if the unit is a 2", 3", glass lined or teflon coated.
     
  10. Turn assembled unit over, and thread in compression screws (8). DO NOT TIGHTEN!
     
  11. Place the assembled unit in its service position and bolt into place.
     
  12. Tighten the compression screws (8) incrementally across diameters and torque to 6-8 ft-lb.
     
  13. Occasionally, when pressure is applied, the packing will loosen. Should leakage occur, follow the tightnening procedure outlined in step 12 until leakage is stopped.

Sight Glass Resources:
Resource Index >
Sight Glass FAQ >
Types of Sight Glasses >
Tech Talks Videos >
Articles and White Papers >

Home Page >

Copyright 2015, All Rights Reserved.
Privacy Policy