(304) 744-7871
Facebook Page Twitter Feed Youtube Channel RSS Feed
Made in the USA

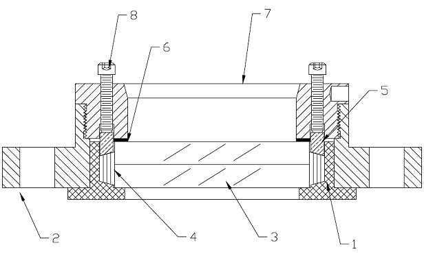
Model I Sight Glass with Teflon Insert

Assembly Instructions

Model I Sight Glass with Teflon Insert Assembly

Model L Weld Sight Glass AssemblyThis unit was assembled at the factory and is ready for installation. The packing in this unit was not, and cannot be, fully compressed at the factory because of the units' design. Mount the unit in position, and compress the packing according to Step (I) of these instructions. Follow the steps below when installing new parts.

  • (A) Place the Teflon insert (I) on a flat surface, flange face down.
  • (B) Place the flange body (2), hub side up, over the Teflon insert.
     
  • (C) Carefully place the lens (3) in the Teflon insert (1).
     
  • (D) Insert the lens packing (4) between the lens (3) and the interior wall of the insert (1) in a normal packing procedure.
     
  • (E) Insert the compression ring (5) beveled side down on top of the packing (4).
     
  • (F) Place the top cushion gasket (6) inside of the compression ring (5) on top of the lens (3).
     
  • (G) Thread the retainer cap (7) into the flange body (2) until the cap bottoms against the flange.
     
  • (H) Place the partially assembled sight glass in its service position and bolt into place.
     
  • (I) Insert the compression adjustment screws (8) and tighten across diameters.
     
  • (J) Occasionally, when pressure is applied, the packing (4) will loosen. Should leakage occur, follow the tightening procedure outlined in step (I), until leakage has stopped.

Sight Glass Resources:
Resource Index >
Sight Glass FAQ >
Types of Sight Glasses >
Tech Talks Videos >
Articles and White Papers >

Home Page >

Copyright 2015, All Rights Reserved.
Privacy Policy