(304) 744-7871
Facebook Page Twitter Feed Youtube Channel RSS Feed
Made in the USA

Model L Flange Sight Glass

Assembly Instruction Video

Click to play video >

Assembly Instructions

Model L Flange Sight Glass Assembly

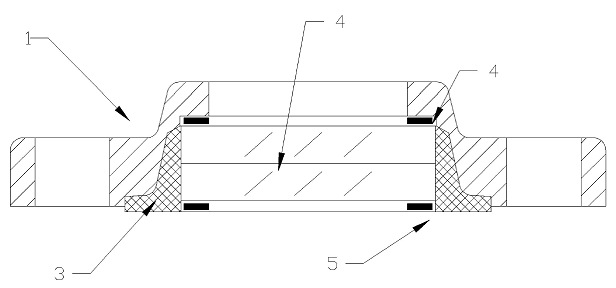
The PresSure Products Company Model L Sight Glass has only four component parts: (1) Retaining flange, (2) lens, (3) seal, (4) and (5) top and bottom cushion gaskets. When the flange bolts are tightened, the elastomeric seal will act as the flange gasket as well as the peripheral seal for the lens.

NOTE: The Model L Sight Glass will not properly mate with a slip-on flange without an adapter.

To assemble the sight glass unit, turn unit upside down (with flange up).

  1. Place the elastomeric seal (3) over the lens (2), allowing the lens to protrude about 1/4" above the hub end of the seal.
     
  2. Place the top cushion gasket (4) in the retaining flange (1).
     
  3. Place the lens assembly (2) into the retaining flange (1).
     
  4. Place the bottom cushion gasket (5) on the lens.
     
  5. Mount the sight glass assembly onto its mating flange.
     
  6. Incrementally torque the flange bolts to 25-30 foot pounds.
When mounting the sight glass on a vertical surface, it may be easier to center the lens assembly with the seal on the raised face of the mating flange and place the retaining flange over it.

Sight Glass Resources:
Resource Index >
Sight Glass FAQ >
Types of Sight Glasses >
Tech Talks Videos >
Articles and White Papers >

Home Page >

Copyright 2015, All Rights Reserved.
Privacy Policy