(304) 744-7871
Facebook Page Twitter Feed Youtube Channel RSS Feed
Made in the USA

Model M Sight Glass

Assembly Instructions

Model M Sight Glass Assembly

This unit was assembled at the factory and is ready for installation. The sight glass should be visually checked for any possible damage during shipping. After the unit has been installed, heated and pressurized several times, it should be inspected for any possible leakage. If leakage occurs, follow step (M) until leakage has stopped.

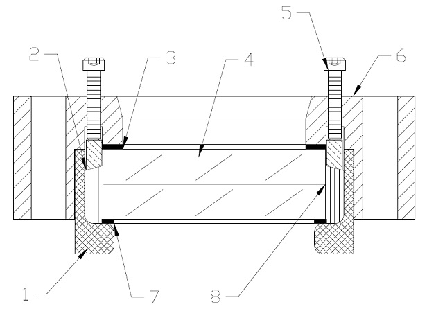
When installing parts, refer to the steps (A) thru (M).

  • (A) Place insert cup (l) on a llat surface, serrated lace down.
     
  • (B) The interior of the insert cup (1) must be clean.
     
  • (C) Place the bottom cushion gasket (7) (largest ID) into position.
     
  • (D) Carefully place the lens (4) on the bottom cushion gasket (7).
     
  • (E) Insert the lens packing (8) between the lens (4) and the interior wall of the insert cup (l) in a normal packing procedure. The insert cup (1) is now ready to be positioned in the flange housing (6).
  • (F) Place the flange housing (6) on a flat surface, hub down.
     
  • (G) Place the one piece compression ring (2) in the compression ring groove of the flange housing (6) bevelled side up.
     
  • (H) Place the top cushion gasket (3) (smallest ID), on the lens bearing surface of the flange housing inside the l.D. of the compression ring (2).
     
  • (I) Slip the assembled insert cup (l) into the flange housing, serrated face down.
     
  • (J) Place the partially assembled Model "M" PresSure Sight Glass into its service position and bolt the sight glass into place.
     
  • (K) Insert the compression adjustment screws (5) and tighten so the packing (8) is compressed enough to allow the flange housing (6) and the top of the insert cup (1) to meet. Alter this is accomplished, it may be necessary to tighten the bolts holding the sight glass to the vessel.
     
  • (L) Tighten the compression adjustment screws (5) across diameters. This procedure should be followed until all the screws are tight.
     
  • (M) Occasionally, when pressure is applied, the packing (B) will loosen. Should leakage occur, follow the tightening procedure outlined in step (L), until leakage has stopped.

Sight Glass Resources:
Resource Index >
Sight Glass FAQ >
Types of Sight Glasses >
Tech Talks Videos >
Articles and White Papers >

Home Page >

Copyright 2015, All Rights Reserved.
Privacy Policy