(304) 744-7871
Facebook Page Twitter Feed Youtube Channel RSS Feed
Made in the USA

See-Thru Liquid Level Gauge

Assembly Instructions

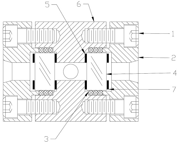
See-Thru Liquid Level Gauge Assembly

This unit was assembled at the factory and is ready for installation. The sight glass should be visually checked for any possible damage during shipping.

INSTALLING PARTS:

  1. Place the body on a clean, flat surface.
  2. Place one gasket into recess in body.
  3. Insert the gauge glass in place on top of the gasket.
  4. Place remaining gasket on top of gauge glass.
  5. Place cap on top of gasket and tighten nuts hand-tight.
  6. Torque the nuts evenly to approximately 40-50 ft-lb.
  7. The gauge is now ready for operation.
  8. Occasionally, when pressure and temperature is cycled, the gaskets will relax. Should leakage occur, follow the tightening procedure outlined in step (6) until leakage has stopped.
Sight Glass Resources:
Resource Index >
Sight Glass FAQ >
Types of Sight Glasses >
Tech Talks Videos >
Articles and White Papers >

Home Page >

Copyright 2015, All Rights Reserved.
Privacy Policy